
炒股就看金麒麟分析师研报,权威,专业,及时,全面股票配资第一门户,助您挖掘潜力主题机会!
来源:投行最前线
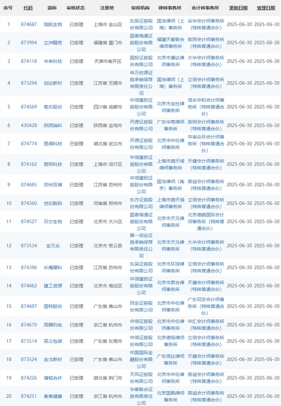
6月30日,北交所受理32家,科创板受理5家,深交所受理4家,真是要把北交所做大做强了,简简单单发个受理名单,大家感受一下:
新浪声明:此消息系转载自新浪合作媒体,新浪网登载此文出于传递更多信息之目的,并不意味着赞同其观点或证实其描述。文章内容仅供参考,不构成投资建议。投资者据此操作,风险自担。
海量资讯、精准解读,尽在新浪财经APP
责任编辑:何俊熹 股票配资第一门户
融正配资提示:文章来自网络,不代表本站观点。